소식
현재 위치: 홈페이지 » 소식 » 5축 CNC 라우터 » 5 축 CNC 기계는 무엇을 만들 수 있습니까?

5 축 CNC 기계는 무엇을 만들 수 있습니까?

번호 검색 :0     저자 :사이트 편집기     게시: 2025-03-13      원산지 :강화 된

귀하의 메시지

facebook sharing button
twitter sharing button
line sharing button
wechat sharing button
linkedin sharing button
pinterest sharing button
whatsapp sharing button
sharethis sharing button

소개

5 축 CNC 머신이 무엇을 할 수 있는지 궁금한 적이 있습니까? 이 기계들은 산업이 복잡한 부품을 만드는 방식을 변화시키고 있습니다.

이 게시물에서는 3 축에서 5 축 CNC 기계까지의 진화와 제조업의 중요성이 커지는 진화에 뛰어들 것입니다. 5 축 CNC 머신이 정확하고 복잡한 부품을 생산하는 데있어 게임 체인저 인 방법을 배웁니다.


5 축 CNC 기계 이해


5 축 CNC 머신이란 무엇입니까??

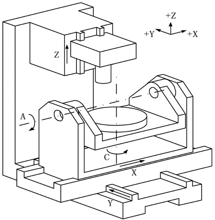
5 축 CNC 기계는 정확하고 복잡한 제조에 사용되는 최첨단 도구입니다. 기존의 3 축 기계와 달리 5 축 CNC는 절단 도구를 제어하기위한 5 가지 움직임을 가지고있어 유연성과 정확성을 높입니다.

  • x, y 및 z 축 : 이들은 선형 축으로 공구의 길이, 너비 및 깊이를 따라 공구를 이동합니다.

  • A 및 B 축 : 이는 회전 축이므로 공구 또는 공작물을 회전시켜 복잡한 각도와 윤곽을 가공 할 수 있습니다.

이 향상된 움직임 능력은 5 축 CNC 기계가 항공 우주 및 의료 기기 제조와 같은 산업에 필수적인 복잡한 세부 사항과 복잡한 형상이있는 부품을 만드는 데 이상적입니다.


5CNC


5 축 CNC 기계는 어떻게 작동합니까?

5 축 CNC 머신의 작동은 놀라운 정밀도로 모든 움직임을 제어하는 ​​정교한 소프트웨어에 의해 가능합니다. 선형 및 회전 운동을 결합하여 기계가 거의 모든 각도에서 부품에 접근 할 수 있습니다.

이 시스템은 CAD (컴퓨터 지원 설계) 소프트웨어로 생성 된 설계 파일을 해석하여 작동합니다. CNC 머신은이 소프트웨어에서 생성 된 도구 경로를 따라 모든 움직임이 정밀하게 실행되도록합니다.

작업의 예 5 축 CNC 머신에는 수행 할 수 있습니다.

  • 복잡한 밀링 : 정확한 각도와 윤곽선으로 상세한 부품을 만듭니다.

  • 드릴링 : 수동 조정없이 부품의 도달하기 어려운 영역에 액세스합니다.

  • 조각 : 복잡한 디자인과 텍스트를 날카로운 디테일로 생성합니다.

RBT Intelligent Equipment 에서는 최신 5 축 CNC 기술을 사용하여 높은 정밀하고 복잡한 설계를 요구하는 산업을위한 맞춤형 부품 및 도구를 생산할 수 있습니다.


5 축 CNC 기계로 어떤 종류의 제품을 만들 수 있습니까?

5 축 CNC 기계는 엄청나게 다재다능하며 다양한 산업에서 광범위한 제품을 만들 수 있습니다. 복잡한 형태와 여러 각도에서 부품을 정확하게 기계화하는 능력은 고정밀 제조에 이상적입니다. 다음은 5 축 CNC 가공을 사용하여 만든 제품의 주요 예입니다.


산업 제품 예 핵심 이점
자동차 터보 차저 임펠러, 엔진 부품 복잡한 형상이있는 고정밀 부품.
항공 우주 터빈 블레이드, 엔진 구성 요소 엄격한 공차를 충족시키고 고압을 견딜 수있는 능력.
의료 임플란트, 수술 도구 안전 중요 부품을위한 사용자 정의 및 높은 정밀도.
소비자 전자 장치 스마트 폰 부품, 회로 보드 공차가 빡빡한 작고 복잡한 부품.
맞춤형 금형 사출 금형, 툴링 대량 생산을위한 내구성 있고 복잡한 곰팡이.
건축 및 예술적 조각, 건축 요소 상세하고 복잡한 디자인을 만들 수있는 기능.


이 기계는 엄청난 유연성을 제공하여 제조업체가 고성능 자동차 부품에서 복잡한 예술 조각에 이르기까지 모든 것을 만들 수 있습니다. 의료, 항공 우주 또는 소비자 전자 산업에서 5 축 CNC 가공은 정밀, 효율성 및 혁신을 보장합니다.


5 축 CNC 머신 사용의 이점

5 축 CNC 기계는 다양한 산업에서 효율성과 제품 품질을 모두 향상시키는 몇 가지 주요 장점을 제공합니다. 아래는 5 축 가공이 제공하는 주요 이점의 고장입니다.


혜택 설명 예제
향상된 정밀도와 정확도 복잡한 컷 및 상세한 기능으로 더 높은 정밀도를 달성하는 능력. 항공 우주 터빈 블레이드, 의료 임플란트.
더 빠른 생산 시간 설정 시간이 줄어서 단일 설정에서 여러 작업을 완료 할 수 있습니다. 자동차 부품과 같은 복잡한 부분.
도구 변경에 대한 필요성이 줄어 듭니다 여러 설정 및 도구 변경이 필요하지 않아 다운 타임이 줄어 듭니다. 맞춤형 금형 및 부품의 고효율 생산.
표면 마감 및 품질 향상 멀티 앵글 접근 방식은 표면 마감 처리가 향상되어 공구 표시가 줄어 듭니다. 완벽한 표면이 필요한 항공 우주 및 의료 구성 요소.


5 축 CNC 기계를 사용함으로써 제조업체는 생산 시간을 크게 줄이고 정확도를 높이며 제품의 전반적인 품질을 향상시킬 수 있습니다. 이러한 이점은 5 축 CNC 가공을 만들어 항공 우주, 자동차 및 의료 기기 제조와 같은 높은 정밀도와 효율이 필요한 산업에 이상적인 솔루션입니다.


5 축 CNC 기계로 어떤 재료를 가공 할 수 있습니까?

5 축 CNC 기계는 다재다능하며 광범위한 재료를 가공하여 산업 전반에 걸쳐 정밀도와 효율성을 제공 할 수 있습니다. 아래는 5 축 기술을 사용하여 가공 할 수있는 일반적인 재료에 대한 개요입니다.


재료 유형 예제 주요 이점
궤조 알루미늄, 강철, 티타늄 높은 강도와 ​​내구성; 항공 우주, 자동차 및 의료 부품에 이상적입니다.
플라스틱 및 복합재 복합재, 플라스틱 경량, 내구성 및 전자 제품, 자동차 및 의료 산업에 이상적입니다.
목재 및 소프트 재료 나무, 거품, 고무 가구 및 프로토 타입을위한 상세 모양 및 맞춤형 디자인의 정밀 제작.


이 재료는 5 축 CNC 기계의 고유 한 기능으로 인해 여러 각도에서 정밀 가공을 제공하여 가장 복잡한 부품과 복잡한 디자인에도 적합합니다. 단단한 금속, 경량 복합재 또는 소프트 재료이든 5 축 CNC 기계는 일관된 고품질 결과를 보장합니다.


필요에 맞는 올바른 5 축 CNC 기계를 선택하는 방법


5 축 CNC 머신을 구입할 때 고려해야 할 요소

5 축 CNC 머신을 선택할 때 고려해야 할 몇 가지 주요 요소가 있습니다. 먼저 기계의 작업 공간에 맞아야하며 제조하려는 부품을 처리 할 수 ​​있어야합니다. 크기 구성 에 대해 생각해보십시오.

  • 크기 : 작업 할 부품의 치수를 고려하십시오. 기계가 가장 큰 구성 요소를 수용 할 수 있는지 확인하십시오.

  • 기능 : 기계가 금속, 플라스틱 또는 복합재와 같이 사용할 재료를 처리 할 수 ​​있는지 확인하십시오.

또한 생산 요구에 따라 고급 기계는 고급 기능을 제공 할 수 있지만 프로젝트가 덜 복잡한 경우에는 필요하지 않을 수 있습니다. 예산과 예상 ROI를 고려하십시오. 비용 대 혜택을 평가하는 것이 중요합니다.


수직 및 수평 5 축 CNC 기계를 선택합니다

5 축 CNC 기계는 수직 및 수평 구성으로 제공됩니다. 각 유형에는 강점이 있으므로 생산 요구 사항에 가장 잘 맞는 것을 선택하는 것이 중요합니다.

  • 수직 기계 : 가시성이 높고 액세스 용이성이 필요한 작은 부품 및 작업에 이상적입니다. 정밀도가 필요한 부품에 적합하지만 z 축에서 많은 움직임이 필요하지 않습니다.

  • 수평 기계 : 더 크고 무거운 부품에 더 좋습니다. 공작물이 여러 축을 중심으로 회전 해야하는 대량 생산에서 뛰어납니다.

    항공 우주 산업을위한 5 축 기계



5 축 CNC 가공의 미래


5 축 CNC 기계의 기술 발전

5 축 CNC 머신의 미래는 흥미 진진하며 몇 가지 기술 발전이 지평선에 있습니다. 와 같은 혁신은 AI 자동화 가공 기능을 향상시키는 데 중요한 역할을 할 것으로 예상됩니다. 이러한 기술을 통해 기계는 자체 최적화되어 효율성과 정밀도를 실시간으로 향상시킬 수 있습니다.

  • AI 통합 : AI는 기계가 과거 작업에서 학습하고 최적의 결과를 위해 설정을 조정하도록 도와줍니다.

  • 자동화 : 자동화는 인간 오류를 줄이고 생산 속도를 높이며 지속적인 작동을 허용합니다.

이러한 발전은 5 축 CNC 기계를 더 똑똑하고 빠르며 다재다능하여 제조에서 가능한 한 경계를 넓힐 것입니다.


성장하는 응용 및 산업

5 축 CNC 기술이 발전함에 따라 새로운 산업 및 응용 프로그램으로 확장 될 것입니다. 예를 들어, 3D 프린팅 재생 가능 에너지 부문은 5 축 가공의 정밀성과 유연성으로부터 큰 혜택을받을 것입니다.

  • 3D 인쇄 : 5 축 기계는 복잡한 3D 인쇄 금형 및 부품을 만드는 데 중요한 역할을합니다.

  • 재생 에너지 : 풍력 터빈, 태양 전지판 및 기타 재생 가능 에너지 기술에 대한 복잡한 부품을 생산하는 능력이 증가 할 것입니다.


결론

5 축 CNC 기계는 현대식 제조에 필수적이며 비교할 수없는 정밀도와 다양성을 제공합니다. 복잡한 부품을 처리하는 능력은 항공 우주, 자동차 및 건강 관리와 같은 산업에서 매우 중요합니다.

기술이 계속 발전함에 따라 5 축 CNC 기계의 잠재력은 증가 할 것입니다. 에서는 RBT Intelligent Equipment 프로젝트를위한 5 축 가공의 전력을 탐색 할 수 있도록 도와 줄 준비가되었습니다.


FAQ


Q : 5 축 CNC 가공에서 어떤 산업이 가장 큰 혜택을 받습니까?

A : 항공 우주, 자동차, 의료 및 전자 제품과 같은 산업이 가장 큰 혜택을받습니다. 5 축 CNC 기계는 이러한 섹터에 필요한 복잡한 고정밀 부품을 생산할 수 있습니다.


Q : 5 축 CNC 기계는 정밀도 측면에서 3 축 CNC 기계와 어떻게 비교됩니까?

A : 5 축 CNC 머신은 절단 도구가 여러 각도에서 접근 할 수 있도록하여 우수한 정밀도를 제공하여 3 축 기계에 어려운 복잡한 모양을 달성합니다.


Q : 5 축 CNC 기계로 어떤 유형의 부품을 만들 수 있습니까?

A : 5 축 CNC 기계는 자동차 부품, 항공 우주 부품, 의료 임플란트, 소비자 전자 제품, 맞춤형 금형 및 건축 설계를 만들 수 있습니다.


Q : 수직 및 수평 5 축 CNC 기계의 차이점은 무엇입니까?

A : 수직 5 축 기계는 더 쉽게 접근 및 가시성을 제공하며 작은 부품에 이상적이며 수평 5 축 기계는 복잡한 회전이있는 더 크고 무거운 부품에 더 좋습니다.


Q : 5 축 CNC 가공은 어떻게 복잡한 부품 제조에서 생산 시간을 줄이는 데 도움이됩니까?

A : 단일 설정에서 여러 작동을 허용함으로써 5 축 가공은 공구 변경 및 재구성의 필요성을 줄여 생산 시간을 크게 높이게합니다.


연락처 정보

추가: 중국 복건성 취안저우시 대만 투자 지역 Tangtou Village No. 588 RBT 지능형 공원
전화: +86-13860709162

빠른 링크

카테고리

문의하기 지금 문의하기
저작권 2023 FUJIAN RBT INTELLIGENT EQUIPMENT CO.,LTD. SItemap | 개인 정보 정책 |지원 대상 Leadong.